عندما تحصل على دبوس مقسم فعال من حيث التكلفة، فقد يأتي مع شهادة الجودة. هذا في الأساس عبارة عن ورقة تشير إلى أنه تم فحص دبوس الانقسام ويلبي معايير معينة.
تسرد الشهادة تفاصيل حول دبوس الانقسام - من صنعه، وما هو مصنوع، وحجمه، والدفعة التي جاء منها. يوضح أنه تم اختبار الدبوس المقسم لأشياء مثل القوة ودقة الحجم وما إذا كان ينحني بشكل صحيح دون أن ينكسر. كما يقومون بالتحقق من أن معالجة السطح، مثل طلاء الزنك، تتم بشكل صحيح.
الشهادة موقعة ومختومة من قبل المفتشين الذين قاموا بالاختبارات. تعتبر هذه الأوراق مفيدة للشركات التي تحتاج إلى إثبات أن دبوس الانقسام الخاص بها يلبي متطلبات محددة، خاصة في صناعات مثل السيارات أو التصنيع حيث يكون تتبع الجودة أمرًا مهمًا. إنه في الأساس تأكيدك على أن الدبوس المقسم قد تم فحصه بشكل صحيح قبل استلامه.
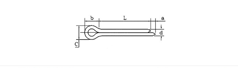
| d | 0.6 | 0.8 | 1 | 1.2 | 1.5 | 2 | 2.5 | 3.2 | 4 | 5 | 6.3 | 8 | 10 | 13 | 16 | 20 | |
| d | الأعلى | 0.5 | 0.7 | 0.9 | 1 | 1.4 | 1.8 | 2.3 | 2.9 | 3.7 | 4.6 | 5.9 | 7.5 | 9.5 | 12.4 | 15.4 | 19.3 |
| دقيقة | 0.4 | 0.6 | 0.8 | 0.9 | 1.3 | 1.7 | 2.1 | 2.7 | 3.5 | 4.4 | 5.7 | 7.3 | 9.3 | 12.1 | 15.1 | 19 | |
| a | الأعلى | 1.6 | 1.6 | 1.6 | 2.5 | 2.5 | 2.5 | 2.5 | 3.2 | 4 | 4 | 4 | 4 | 6.3 | 6.3 | 6.3 | 6.3 |
| دقيقة | 0.8 | 0.8 | 0.8 | 1.25 | 1.25 | 1.25 | 1.25 | 1.6 | 2 | 2 | 2 | 2 | 3.15 | 3.15 | 3.15 | 3.15 | |
| ب≈ | 2 | 2.4 | 3 | 3 | 3.2 | 4 | 5 | 6.4 | 8 | 10 | 12.6 | 16 | 20 | 26 | 32 | 40 | |
| C | الأعلى | 1 | 1.4 | 1.8 | 2 | 2.8 | 3.6 | 4.6 | 5.8 | 7.4 | 9.2 | 11.8 | 15 | 19 | 24.8 | 30.8 | 38.5 |
| دقيقة | 0.9 | 1.2 | 1.6 | 1.7 | 2.4 | 3.2 | 4 | 5.1 | 6.5 | 8 | 10.3 | 13.1 | 16.6 | 21.7 | 27 | 33.8 | |
يتم استخدام دبوس الانقسام الفعال من حيث التكلفة بشكل أساسي لمنع الأجزاء من التفكك في الآلات والسيارات والمعدات. وتتمثل مهمتها في منع البراغي أو الأعمدة أو المسامير الأخرى من الانزلاق للخارج بسبب الاهتزاز. على سبيل المثال، في السيارة، ستجد غالبًا دبوسًا منقسمًا في محاور العجلات أو نظام التعليق للمساعدة في الحفاظ على سلامة الأشياء.
في آلات المصانع، يمكن استخدام الدبوس المقسم في المفصلات أو المفاصل المتحركة للحفاظ على محاذاة كل شيء. على القوارب، يمكنها تثبيت الأجهزة مثل المرابط في مكانها. للاستخدام اليومي، يمكنك استخدام دبوس مقسم لتأمين شفرة جزازة العشب أو دواسة الدراجة. كل ما عليك فعله هو دفع الدبوس المقسم عبر فتحة وثني الشقين بعيدًا عن بعضهما البعض - إنها طريقة بسيطة لإجراء اتصال يتم تثبيته بشكل آمن ولكن لا يزال من الممكن إزالته عند الحاجة.
سؤال: هل يمكنك تقديم شهادة لدبوس الانقسام الفعال من حيث التكلفة؟
الإجابة: نعم، يمكننا أن نمنحك شهادة مادية للدبوس. إنه يوضح أننا نفي بمعايير مثل ISO 1234. وهذا يضمن فحص المسامير المقسمة التي تحصل عليها مع المواصفات الميكانيكية والأبعاد التي اتفقنا عليها.
